首 页
|
加入收藏
|
联系我们
项 目
项 目
采 购
新 闻
机 构
搜索
首页
乐动(中国)频道
交易系统
国资采购
资讯中心
市场平台
交易指南
关于我们
当前位置
>
交易指南
>
交易流程
交易指南
交易规则
交易流程
其他
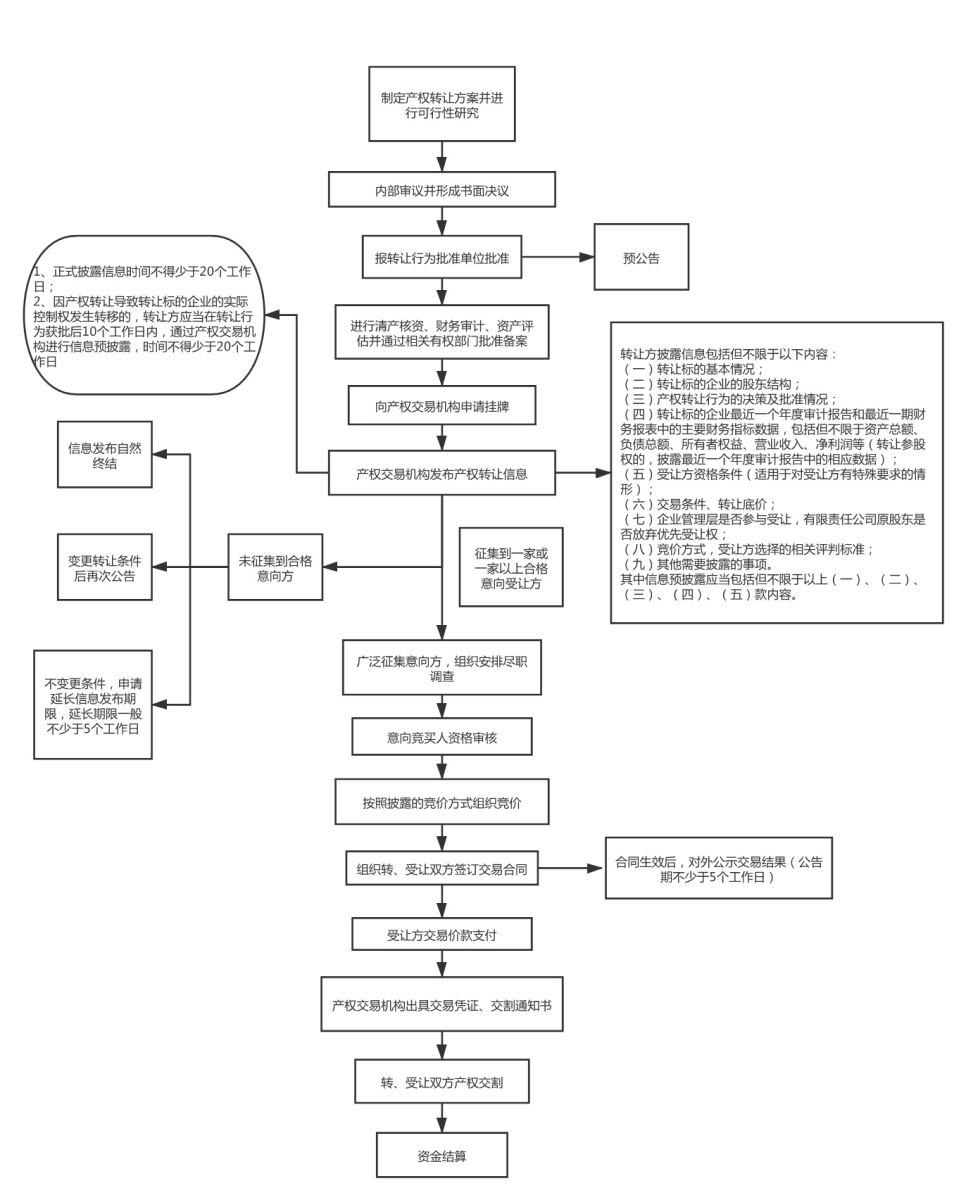
企业国有产权转让交易流程
发布时间:
2018-03-13
企业国有产权转让交易流程.pdf
乐鱼网页版登录入口
|
千亿·体育(中国)官方网站
|
华体平台_华体(中国)
|
开云手机站官网(中国)有限公司
|
leyu·乐鱼(中国)体育官方网站
|
拼搏网页版登录入口
|
亚新网站
|
千亿平台_千亿(中国)一站式服务平台
|
江南jn体育官网
|